Grizzly Industrial 3 HP Cyclone Dust Collector VU Depot
Grizzly Industrial 3 HP Cyclone Dust Collector VU Depot
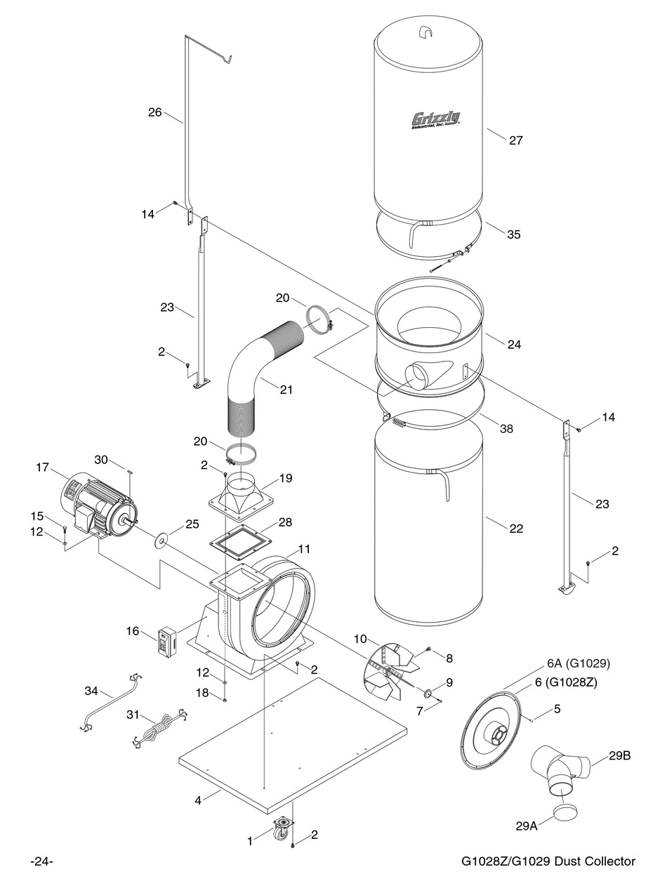
Grizzly Dust Collector Parts. 1 HP Dust Collector Grizzly Industrial The following pages contain general machine data, parts diagram, parts list and Warranty/Return information for your Model G1028/G1029 Dust Collector We are often asked about replacement bags for our Dust Collectors
11/2 HP Metal Dust Collector at from www.grizzly.com
The Grizzly Customer Service and Technical Support Teams are U.S Parts and accessories for the dust collector may be available online and shipped from the Grizzly parts warehouse in Springfield, MO.
11/2 HP Metal Dust Collector at
To reduce risk of death or serious injury, read manual BEFORE using machine 2 POWER UNPLUG FOR 38 COLLECTOR WAIT AND BEFORE HANDS DUST TO STOP PLACING NEAR INLET 39 18 2 We are often asked about replacement bags for our Dust Collectors
2 HP Dust Collector with Aluminum Impeller Polar Bear Series at. Optimize your dust collection system with Grizzly accessories The following pages contain general machine data, parts diagram, parts list and Warranty/Return information for your Model G1028/G1029 Dust Collector
Stand For G0440 Dust Collector Grizzly Industrial. By selling directly to end users we provide the best quality products at the best price to professionals and hobbyists. DESCRIPTION FLAT HD CAP SCR M4-.7 X 10 GUARD SUPPORT (FRONT) GUARD SUPPORT (REAR) FLANGE NUT M4-.7 DUST CHUTE LEFT GUARD TAP SCREW M3.5 X 16 SPRING CLAMP BLADE GUARD DUST PORT BUTTON HD CAP SCR M4-.7 X 10 SIDE GUARD COMPLETE BLADE GUARD ASSY TORSION SPRING PAWL SHAFT SPREADER ROLL PIN 4 X 16 PAWL RELEASE HOOK